更新时间:2022-06-23 22:19点击:来源:作者:

山东亚华电子股份有限公司(以下简称“亚华电子”)是医院智能通讯交互系统软硬件一体化综合解决方案提供商,主营业务为医院智能通讯交互系统的研发、生产和销售。
亚华电子招股书(上会稿)显示,中亚华信直接持有公司61.73%的股份,为公司的控股股东;公司实际控制人为耿玉泉、耿斌父子。耿玉泉直接持有公司11.02%的股份,耿斌直接持有公司2.18%的股份,同时通过中亚华信(持股比例为79.17%)间接控制公司61.73%的股份,耿玉泉、耿斌合计控制公司74.93%的股份。

亚华电子保荐机构为东吴证券股份有限公司(以下简称“东吴证券”),保荐代表人曹飞,庞家兴。会计师事务所容诚会计师事务所(特殊普通合伙)签字会计师汪玉寿,倪士明,童波。咨询机构中改一云。

图片来源:创业板·项目动态
亚华电子招股书(上会稿)显示,耿玉泉1960 年 4 月出生,中国国籍,无境外永久居留权,中专学历。历任淄博无线电七厂技术员、淄博电器厂技术员、淄博亚华电器厂总经理;1998 年 12 月创办亚华有限;1998 年 12 月至 2016 年 1 月,任亚华有限董事长、总经理;2016年 2 月至今,任公司董事长。2002 年 4 月至今任青岛华博执行董事。2020 年 10月至今任中亚华信执行董事、总经理。

图片来源:亚华电子招股书(上会稿)
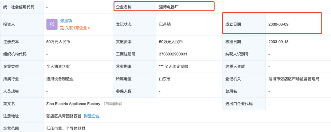
企查查搜索结果显示,淄博电器厂成立于2000年6月9日,而东吴证券保荐代表人曹飞,庞家兴撰写亚华电子招股书却称“1998 年 12 月创办亚华有限”。即亚华电子董事长耿玉泉在1998年前就任职了尚未成立的淄博电器厂。

图片来源:企查查
除了上述亚华电子董事长耿玉泉任职履历存疑外,东吴证券保荐代表人曹飞,庞家兴撰写亚华电子招股书或存在信息披露不完整情况看。亚华电子招股书(上会稿)显示,淄博廷信电子有限公司(以下简称“淄博廷信”)法定代表人为王晶晶持股100%,而王晶晶为亚华电子实际控制人耿斌的妻子。企查查搜索淄博廷信历史主要人员显示,姜文朋职务为经理,白政锋为监事。两人卸任时间为2020年10月12日。该公司目前无实际经营业务。

图片来源:亚华电子招股书(上会稿)

数据来源:企查查·制作:富凯IPO财经
亚华电子招股书(上会稿)显示,淄博高新区泰美路 8 号所有权为亚华电子,权证编号淄博市房权证淄博高新字第 03-1046754 号。另外,2020年10月12日前,淄博廷信姜文朋职务为经理,白政锋为监事为核心员工。其中,姜文朋报告期内还部是淄博廷信的股东持股8%。也即是淄博廷信在2020年10月12日前用的注册地址为亚华科技所有。

图片来源:亚华电子招股书(上会稿)
企查查查询淄博廷信2019年显示,社保缴纳人数0人,企业联系电话138****3742邮箱meng****yuan#yarward.com为亚华电子股东孟媛媛(任职发行人财务)私人电话和亚华电子的企业邮箱。

图片来源:企查查
淄博廷信2019年年报披露的企业联系电话同时关联了亚华电子实控人耿斌5家公司。

图片来源:企查查

数据来源:企查查·制作:富凯IPO财经
白政锋、姜文朋、孟媛媛报告期即为亚华电子股东和员工同时为时任淄博廷信股东核心人员及企业联系人,同时办公场地因为共用是否符合信息披要求,是否存在利益输送?东吴证券保荐代表人曹飞,庞家兴是否如实披露,保荐底稿是否完成?

来源:亚华电子招股书(上会稿)
2022年5月27日,证监会发布了修订后的《保荐人尽职调查工作准则》和《证券发行上市保荐业务工作底稿指引》,自发布之日起施行。《证券发行上市保荐业务工作底稿指引》第三条工作底稿应当真实、准确、完整地反映保荐机构尽职推荐发行人证券发行上市、持续督导发行人履行相关义务所开展的主要工作,并应当成为保荐机构出具发行保荐书、发行保荐工作报告、上市保荐书、发表专项保荐意见以及验证招股说明书的基础。工作底稿是评价保荐机构及其保荐代表人从事保荐业务是否诚实守信、勤勉尽责的重要依据。
根据《证券发行上市保荐业务管理办法》第二十六条规定,在发行保荐书和上市保荐书中,保荐机构应当就下列事项做出承诺:有充分理由确信发行人符合法律法规及中国证监会有关证券发行上市的相关规定;有充分理由确信发行人申请文件和信息披露资料不存在虚假记载、误导性陈述或者重大遗漏;有充分理由确信发行人及其董事在申请文件和信息披露资料中表达意见的依据充分合理;有充分理由确信申请文件和信息披露资料与证券服务机构发表的意见不存在实质性差异;保证所指定的保荐代表人及本保荐机构的相关人员已勤勉尽责,对发行人申请文件和信息披露资料进行了尽职调查、审慎核查;保证保荐书、与履行保荐职责有关的其他文件不存在虚假记载、误导性陈述或者重大遗漏。
本周上会企业及中介机构

数据来源:网络媒体
参考资料:
1、企查查
2、创业板官网
3、亚华电子招股书
4、保荐人尽职调查工作准则、证券发行上市保荐业务工作底稿指引、证券发行上市保荐业务管理办法